単位 : mm
| 品番 | A | A1 | A2 | B | B1 | B2 | B3 | G | H | 保持力(N) 標準/プラスコネクション*1 |
質量 (kg) |
価格 (円) |
税込 価格 |
CAD ダウンロード |
標準品を購入 | 在庫/非在庫 |
|---|---|---|---|---|---|---|---|---|---|---|---|---|---|---|---|---|
| MKS-2005-KB | 80 | 20 | 5 | 58 | 39 | 20 | 15.5 | M4 | 4.5 | 400/1050 | 0.35 | - | - | CAD | 見積り | 非在庫品 |
*1: プラスコネクションの保持力は、圧力が0.6MPaのときの値です。
プラスコネクションの値がない品番は、プラスコネクションには対応していません。
MKSの高さをキャリッジの高さに揃えるためのアダプタプレートPMKを用意しています。
構造

MKS-2005-KBの材質・仕上げ
| MKS | |
|---|---|
| 本体 | SCr415相当 無電解ニッケルメッキ |
| エアフィルタ | 黄銅 |
| コンタクトセクション | SUJ2相当 表面処理なし |
| アジャストスクリュー | SUJ2相当 表面処理なし |
MKS-2005-KBの特長
- テーブルの保持・位置ぎめ・びびり防止に。
-
常時閉(Normally Closed)タイプです。
空気圧供給時:クランプを開放します。
空気圧排出時:ばねの力でリニアガイドウェイのレールをクランプします。 - コンパクト設計。
- ISOクラス6の清浄度に対応。
-
各種試験データについては、下記ページをご参照ください。
⇒試験結果を見る
- 既存システムへの組みつけも容易です。リニアガイドウェイのレールの延長、テーブルサイズの変更など、設計変更は不要です。

プラスコネクション
“プラスコネクション”とは、ばねによる保持力に、空気圧による保持力を付加(プラス)し、保持力を増強させる接続(コネクション)方法です。プラスコネクションの接続方法
- エアフィルタを取りはずしてください。
- 管継手・チューブ・ソレノイドバルブを取りつけてください。
- エアを供給してください。
- ソレノイドバルブを作動させ、クランプの開閉に問題がないことを確認してください。


仕様
| MKS-03 | MKS-04 | MKS | |
|---|---|---|---|
| 制御方式 | 空気圧・常時閉 | ||
| 開放圧力 | 0.3MPa | 0.4MPa | 0.55MPa |
| 最高使用圧力 | 0.65MPa | ||
| レスポンスタイム | max. 0.06s | ||
| クランプ寿命*1 | 500万回 | ||
| 使用温度 | -10℃~+70℃ | ||
| 適用レールの呼び | #15~#65 | #15~#65 | #12~#85 |
*1: 参考値であり、保証値ではありません。プラスコネクション時の寿命は100万回です。
使用上の注意
MKSは、出荷時にコンタクトセクション間にスペーサをはさみ込んであります。取りつけ時以外は、このスペーサを取りはずさないでください。スペーサを取りはずした状態で長時間放置すると、MKSが作動しなくなることがあります。
取りつけ
| ねじの呼び*1 | 締めつけトルク (N・m) |
|---|---|
| M4 | 2.8 |
| M5 | 5.5 |
| M6 | 9.5 |
| M8 | 23 |
| M10 | 46 |
*1: 強度区分8.8以上のねじをご使用ください。
安全上の注意( ⇒安全上の注意 ) 、設計における注意事項( ⇒設計における注意事項 ) 、取りつけ手順( ⇒取りつけ手順 ) を事前にご確認ください。
取りつけ図

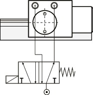
配管
| レールの呼び | ねじの呼び | 空気消費量*1(ℓ/サイクル(ANR)) 標準/プラスコネクション |
|---|---|---|
| #12 | M3 | 0.007/0.021 |
| #15 | M5 | 0.011/0.035 |
| #20 | M5 | 0.019/0.063 |
| #21 | M5 | 0.007/0.020 |
| #25 | M5 | 0.021/0.068 |
| #27 | M5 | 0.019/0.063 |
| #30 | M5 | 0.031/0.121 |
| #35 | M5 | 0.031/0.129 |
| #45 | M5 | 0.041/0.175 |
| #50 | M5 | 0.031/0.121 |
| #55 | M5 | 0.041/0.175 |
| #65 | M5 | 0.041/0.175 |
*1: 圧力が0.6MPaのときの値です。表中の数値は参考値であり、保証値ではありません。
トラブルシューティング
| 不具合 | 理由 | 考えられる原因 | 解決策 |
|---|---|---|---|
| クランパが解放状態にならない/クランパがレールに接触する | 動作圧力の不足 | 設定されている動作圧力がとても小さい | 製品ページで指定されている値に従って最低使用圧力を設定してください。 |
| エア(オイル)の漏れ,詰まり,配管の途中でせき止められている、圧力供給部の故障など | 配管、クランパ、圧力供給部を確認してください。 | ||
| アプリケーションに対して動作圧力が不十分 | 動作圧力を上げるか、開放圧力を下げたリニアクランパ・ズィーを使用してください(特殊品)。またはNBKに問い合わせください。 | ||
| レスポンスタイムが長すぎる/クランパが開くまでに遅れがある | エアの供給不足 | エアバルブが小さすぎる | 流量が大きいバルブを選定してください。 |
| エアバルブとクランパの間の配管が長すぎる | エアフィルタの交換・清掃をしてください(NBKではエアフィルタ単体での販売は行っておりません)。 | ||
| 排気量が不十分 | クイックエギゾーストバルブかエアフィルタが塞がれている | クイックエギゾーストバルブとエアフィルタの開口部が塞がれていないことを確認し、必要に応じエアフィルタを反対側に移動させてください。 | |
| クイックエギゾーストバルブかエアフィルタが詰まっている | エアフィルタの交換・清掃をしてください(NBKではエアフィルタ単体での販売は行っておりません)。 | ||
| エアバルブとクランパの間の配管が長すぎる | エアバルブとクランパの間の配管を最短にしてください。 | ||
| エア漏れの音が聞こえることがある | 本体の外側から漏れている | 内部のシールの位置がずれている | 5秒以内にクランパを20回以上開閉させてください。 |
| エアコネクションから漏れている | しっかりとエアコネクションが接続されていない/配管が不良品である | エアコネクションと配管を確認し、必要な場合は交換してください。 | |
| 部品の摩耗 | クランパの寿命 | クランパを交換してください。 | |
| 保持力、保持トルクの不足 | レールに適したクランパを使用していない | クランパとレールの寸法公差が合っていない | NBKサイトの選定ナビでクランパとレールが適合しているかを確認してください。 |
| 取りつけ先が十分な剛性を有していない | クランパの取りつけ用の面の全面が、十分な剛性を持つテーブル・ベースなどと接する必要があります。 | ||
| クランパが変形している | 取りつけねじが緩んでいるか、強度区分が間違っている | 技術データを確認してください。 |
一部サイズ廃止のご案内
下記の通り、“LinearClamper-Zee®”の一部品番を廃止いたします。お客さまには設計変更などのご面倒をお掛けしますが、何卒ご理解賜りますようお願い申しあげます。
詳しくは、
https://www.nbk1560.com/news/2025/20250514/
をご確認ください。








